这里写上图片的说明文字(前台显示)

股票代码:300534
当前股价
1920_250px;

您当前的位置:首页 > 新闻动态 > 行业新闻

新闻动态

公司新闻 行业新闻 媒体新闻 公示公告

NMPA注销289个批准文号

来源:蒲公英 作者: 时间:2020-3-18 阅读:

2020年03月17日国家药品监督管理局(NMPA)连续发布了6个关于安乃近注射液、含磺胺二甲嘧啶制剂、羟布宗片等品种注销公告。






本次公告品种涉及11个品种289个批准文号,属经国家药品监督管理局组织进行了上市后评价,认为风险大于获益,要求自即日起停止生产销售使用,已上市销售的应召回。

涉及的主要品种:

安乃近注射液、安乃近氯丙嗪注射液、小儿安乃近灌肠液、安乃近滴剂、安乃近滴鼻液、滴鼻用安乃近溶液片、小儿解热栓、磺胺二甲嘧啶片、磺胺二甲嘧啶混悬液、小儿复方磺胺二甲嘧啶散、羟布宗片


安乃近相关的制剂



安乃近是吡唑酮类解热镇痛药,在我国上市时间较早,制剂种类包括口服制剂、注射剂、滴鼻液等。随着医药技术发展以及不良反应监测工作的深入,药品安全风险认知将更加全面,风险获益比可能发生变化。国家药品监督管理部门高度关注该类品种安全性问题,开展了相关评估和风险警示工作。

经国家药品监督管理部门组织评价,认为安乃近注射液、安乃近氯丙嗪注射液、小儿安乃近灌肠液、安乃近滴剂、安乃近滴鼻液、滴鼻用安乃近溶液片、小儿解热栓存在严重过敏反应、粒细胞缺乏症等严重不良反应,风险大于获益,且临床均有替代药品,根据《中华人民共和国药品管理法》第八十三条,予以注销药品注册证书

安乃近片等口服制剂保留

安乃近片等口服制剂尚有一定临床价值,对安乃近片、重感灵片、重感灵胶囊、复方青蒿安乃近片采取修订说明书的风险控制措施,增加安全警示信息,限制适用人群和适应症范围。

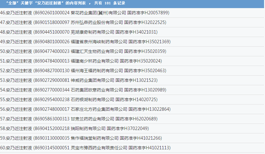
安乃近注射液:国内共有181个批准文号,涉及了上海信谊金朱药业有限公司、福建古田药业有限公司、成都第一制药有限公司等企业:




























安乃近氯丙嗪注射液:6个批准文号


小儿安乃近灌肠液:2个批准文号


安乃近滴剂:1个批准文号


安乃近滴鼻液:1个批准文号


滴鼻用安乃近溶液片:1个批准文号


小儿解热栓:3个批准文号



含磺胺二甲嘧啶等制剂



国家药品监督管理局组织对含磺胺二甲嘧啶制剂进行了上市后评价,评价认为含磺胺二甲嘧啶制剂存在严重不良反应,在我国使用风险大于获益,决定自即日起停止含磺胺二甲嘧啶制剂在我国的生产、销售和使用,注销药品注册证书(药品批准文号)。已上市销售的含磺胺二甲嘧啶制剂由生产企业负责召回,召回产品由企业所在地药品监督管理部门监督销毁。

含磺胺二甲嘧啶制剂是磺胺类抗感染药,在我国上市的品种有磺胺二甲嘧啶片、磺胺二甲嘧啶混悬液、小儿复方磺胺二甲嘧啶散,适应症为脑膜炎球菌、肺炎球菌以及某些革兰氏阴性杆菌引起的感染,严重不良反应主要涉及皮肤及血液系统。

磺胺二甲嘧啶片:58个批准文号










磺胺二甲嘧啶混悬液:4个批准文号


小儿复方磺胺二甲嘧啶散:30个批准文号:






羟布宗片



国家药品监督管理局组织对羟布宗片进行了上市后评价,评价认为羟布宗片存在严重不良反应,在我国使用风险大于获益,决定自即日起停止羟布宗片在我国的生产、销售和使用,注销药品注册证书(药品批准文号)。已上市销售的羟布宗片由生产企业负责召回,召回产品由企业所在地药品监督管理部门监督销毁。

羟布宗片为解热镇痛抗炎药,适应症为风湿性、类风湿性关节炎及痛风,严重不良反应主要涉及血液系统。

羟布宗片:



上篇:

下篇:

扫一扫关注我们

  • 105_105px;
  • 105_105px;

Copyrights © 2017-2025 All Rights Reserved 版权所有 陇神戎发 陇ICP备18001904号 设计制作 宏点网络 icon 甘公网安备 62010002000454号 证书编号:(甘)-非经营性-2024-0018

温馨提醒
icon
尊敬的用户,为了获得更好的用户体验,建议您使用高版本浏览器来对网站进行查看。
一键下载放心安装
×